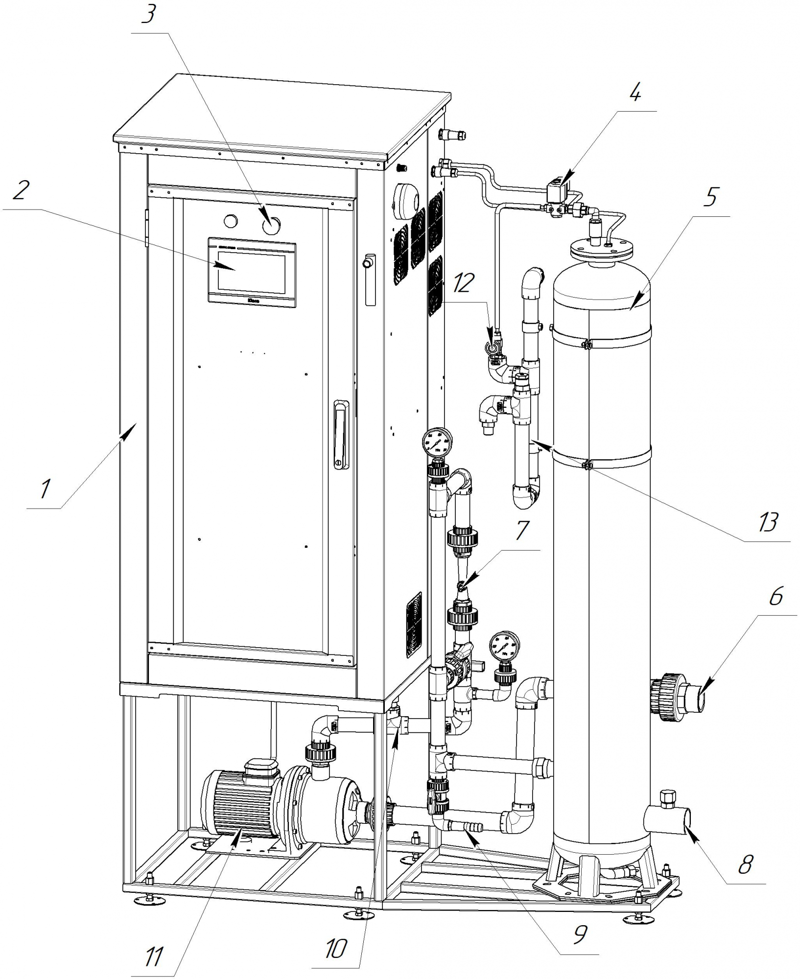
Станция озонирования воды ОЗО-В5
- Производительность по озону – 5 г/час
- Производительность по воде – 5 м³/ч
- Мощность - 1.95 кВт
Промышленные станции озонирования воды серии ОЗО-В могут применяться как для частного использования, например, в коттеджах или бассейнах, так и в сельскохозяйственной, химической, пищевой, фармацевтической и иных видов промышленности:
Генерация озона в озонаторах серии ОЗО-В происходит из кислорода чистотой 93%, что обеспечивает максимальное КПД генератора, высокую концентрацию озона на выходе и абсорбцию (растворение) озона в воде до 90%.
Разработчик оставляет за собой право вносить незначительные изменения во внешний вид, габариты и вес озонатора, которые не влияют на технические характеристики прибора.
|
ыаы |
уцкпукп |
|
ываывыв |
цукп |
|
цпку |
уцкпуцкукцпуц |
|
пвапвуы |
уцкп |
|
пкукп |
уцкп |
